Home » Movember
Category Archives: Movember
Movember patents: Top five moustache-related patents
It’s Movember folks! The time of year when gentlemen around the world cultivate facial topiary to raise money for excellent causes. And so that they can look dashing, of course.
IPCopy is celebrating Movember with a run-down of our favourite moustache-related patents. Why some of these products are no longer available for purchase in a gentleman’s fashion establishment near you is a total mystery…
Mo Bros are Go to Mo Mow
The end is in sight. Many thanks to everyone who has sponsored us or mentioned us. As of the time of writing we have raised around £3200 in support of men’s health issues. A fantastic effort all round. Final day photos are below. Look on with awe!
Our team page can be found here and there’s still time to donate if you want to!
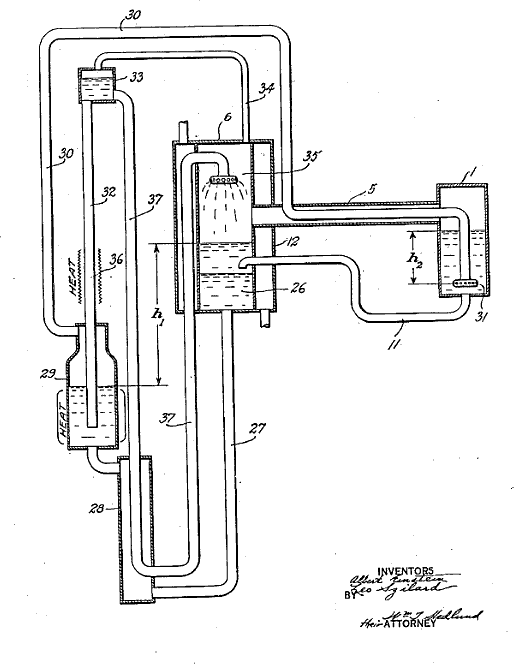
Einstein’s Fridge
Mid Month Movember Mo-photos
Remember, remember, it’s time for Movember
Well the clocks will soon be going back and the nights will begin to get longer. Christmas is just around the corner but first there’s the small matter of Movember.
For those of you who haven’t heard of it, Movember is an opportunity for men around the world to look like plonkers while raising money for charity. Essentially, we start clean shaven on 1 November and then attempt to grow a moustache across the course of the month, hopefully raising some money along the way. The money raised is in support of men’s health issues, particularly testicular cancer and prostate cancer. The Movember movement started in Australia in 2003 and there are now formal campaigns in Australia, New Zealand, the US, Canada, the UK, South Africa, Ireland, Finland, the Netherlands, Spain, Denmark, Norway, Belgium and the Czech Republic. Last year nearly £80 million was raised for these worthy charities.

